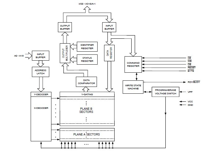
Product Summary
The AT49BV1614 is a 2.7 to 3.6 volt 16-megabit Flash memory organized as 1,048,576 words of 16 bits each or 2,097,152 bytes of 8 bits each. The x16 data appears on I/O0 - I/O15; the x8 data appears on I/O0 - I/O7. The memory is divided into 40 blocks for erase operations. The device is offered in 48-pin TSOP and 48-ball mBGA packages. The AT49BV1614 has CE, and OE control signals to avoid any bus contention. This AT49BV1614 can be read or reprogrammed using a single 2.7V power supply, making it ideally suited for in-system programming.
Parametrics
AT49BV1614 absolute maximum ratings: (1)Temperature Under Bias: -55℃ to +125℃; (2)Storage Temperature: -65℃ to +150℃; (3)All Input Voltages (including NC Pins) with Respect to Ground: -0.6V to +6.25V; (4)All Output Voltages with Respect to Ground: -0.6V to VCC + 0.6V; (5)Voltage on OE with Respect to Ground: -0.6V to +13.5V.
Features
AT49BV1614 features: (1)2.7V to 3.6V Read/Write; (2)Access Time: 90 ns; (3)Sector Erase Architecture; (4)Fast Word Program Time: 20 μs; (5)Fast Sector Erase Time: 200 ms; (6)Dual Plane Organization, Permitting Concurrent Read while Program/Erase; (7)Erase Suspend Capability; (8)Supports Reading/Programming Data from Any Sector by Suspending Erase of; (9)Any Different Sector; (10)Low Power Operation: 25 mA Active; 10 mA Standby; (11)Data Polling, Toggle Bit, Ready/Busy for End of Program Detection; (12)Optional VPP Pin for Fast Programming; (13)RESET Input for Device Initialization; (14)Sector Program Unlock Command; (15)TSOP, CBGA, and mBGA Package Options; (16)Top or Bottom Boot Block Configuration Available.
Diagrams

| Image | Part No | Mfg | Description |  | Pricing (USD) | Quantity | ||||
|---|---|---|---|---|---|---|---|---|---|---|
|  |  AT49BV1614 |  Other |  |  Data Sheet |  Negotiable |  | ||||
|  |  AT49BV1614-11CI |  Atmel |  IC FLASH MEM 3V 16M 110NS 48CBGA |  Data Sheet |  Negotiable |  | ||||
|  |  AT49BV1614-11TI |  |  IC FLASH 16MBIT 110NS 48TSOP |  Data Sheet |  Negotiable |  | ||||
|  |  AT49BV1614-90TC |  Atmel |  IC FLASH MEM 3V 16M 90NS 48-TSOP |  Data Sheet |  Negotiable |  | ||||
|  |  AT49BV1614-90TI |  Atmel |  IC FLASH MEM 16M 3V 48TSOP |  Data Sheet |  Negotiable |  | ||||
|  |  AT49BV1614A |  Other |  |  Data Sheet |  Negotiable |  | ||||
|  |  AT49BV1614A-90TI |  Atmel |  Flash 16M bit |  Data Sheet |  Negotiable |  | ||||
|  |  AT49BV1614A-12CC |  |  IC FLASH 16MBIT 120NS 48CBGA |  Data Sheet |  Negotiable |  | ||||
 (China (Mainland))
 (China (Mainland)) 
                         
                        
 
                                    




