Product Summary
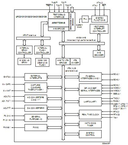
The LPC2132FBD64 is a Single-chip microcontroller. It is based on a 32/16 bit ARM7TDMI-S CPU with real-time emulation and embedded trace support. The LPC2132FBD64 combines the microcontroller with 32 kB, 64 kB, 128 kB, 256 kB and 512 kB of embedded high speed Flash memory. Due to its tiny size and low power consumption, the LPC2132FBD64 is ideal for applications where miniaturization is a key requirement, such as access control and point-of-sale.
Parametrics
LPC2132FBD64 absolute maximum ratings: (1)supply voltage, core and external rail:-0.5V to +3.6V; (2)analog 3.3 V pad supply voltage:-0.5V to 4.6V; (3)RTC power supply voltage:-0.5V to 4.6V; (4)A/D converter reference voltage:-0.5V to 4.6V; (5)analog input voltage on A/D related pins:-0.5V to 5.1V; (6)DC input voltage, 5 V tolerant I/O pins:-0.5V to 6.0V; (7)DC input voltage, other I/O pins:-0.5V to VDD +0.5V; (8)DC supply current per supply pin:100mA; (9)DC ground current per ground pin:100mA; (10)storage temperature:-40℃ to 125℃; (11)total power dissipation:1.5 W.
Features
LPC2132FBD64 features: (1)16/32-bit ARM7TDMI-S microcontroller in a tiny LQFP64 package; (2)8/16/32 kB of on-chip static RAM and 32/64/128/256/512 kB of on-chip Flash program memory. 128 bit wide interface/accelerator enables high speed 60 MHz operation; (3)In-System/In-Application Programming (ISP/IAP) via on-chip boot-loader software; (4)Single Flash sector or full chip erase in 400 ms and programming of 256 bytes in 1 ms; (5)EmbeddedICE RT and Embedded Trace interfaces offer real-time debugging with the on-chip RealMonitor software and high speed tracing of instruction execution; (6)One 8 channel 10-bit A/D converters provides a total of up to 16 analog inputs, with conversion times as low as 2.44 μs per channel; (7)Single 10-bit D/A converter provides variable analog output; (8)Two 32-bit timers/external event counters (with four capture and four compare channels each), PWM unit (six outputs) and watchdog; (9)Low power Real-time clock with independent power and dedicated 32 kHz clock input; (10)Multiple serial interfaces including two UARTs (16C550), two Fast I2C-bus (400 kbit/s), SPI and SSP with buffering and variable data length capabilities; (11)Vectored interrupt controller with configurable priorities and vector addresses.
Diagrams

| Image | Part No | Mfg | Description | ![]() |
Pricing (USD) |
Quantity | ||||||||||||
|---|---|---|---|---|---|---|---|---|---|---|---|---|---|---|---|---|---|---|
![]() |
![]() LPC2132FBD64 |
![]() Other |
![]() |
![]() Data Sheet |
![]() Negotiable |
|
||||||||||||
![]() |
![]() LPC2132FBD64,151 |
![]() |
![]() IC ARM7 MCU FLASH 64K 64-LQFP |
![]() Data Sheet |
![]() Negotiable |
|
||||||||||||
![]() |
![]() LPC2132FBD64/01,15 |
![]() NXP Semiconductors |
![]() ARM Microcontrollers (MCU) ARM7 64KF/16KR/ADC |
![]() Data Sheet |
![]()
|
|
||||||||||||
![]() |
![]() LPC2132FBD64/01,11 |
![]() NXP Semiconductors |
![]() ARM Microcontrollers (MCU) 64K FL/16K RAM 10BIT ADC/DAC |
![]() Data Sheet |
![]()
|
|
||||||||||||
(China (Mainland))











